公开的一种废水脱氮除磷的装置和处理废水方法,属于污水处理领域。它包括木屑填充的反硝化柱以及酸性矿井排水残渣填充的磷过滤柱。明将木屑反硝化柱与酸性矿井排水残渣磷过滤柱耦合在一起,集异养‑自养反硝化脱氮以及生物‑化学除磷技术为一体,对含有氮磷的点源养殖废水和分散农业地砖排水进行脱氮除磷的处理,能达到高效净化水质的目的。本发明具有结构简单、设计合理、占地面积小、所选材料成本低廉以及净化效果显著的优点。

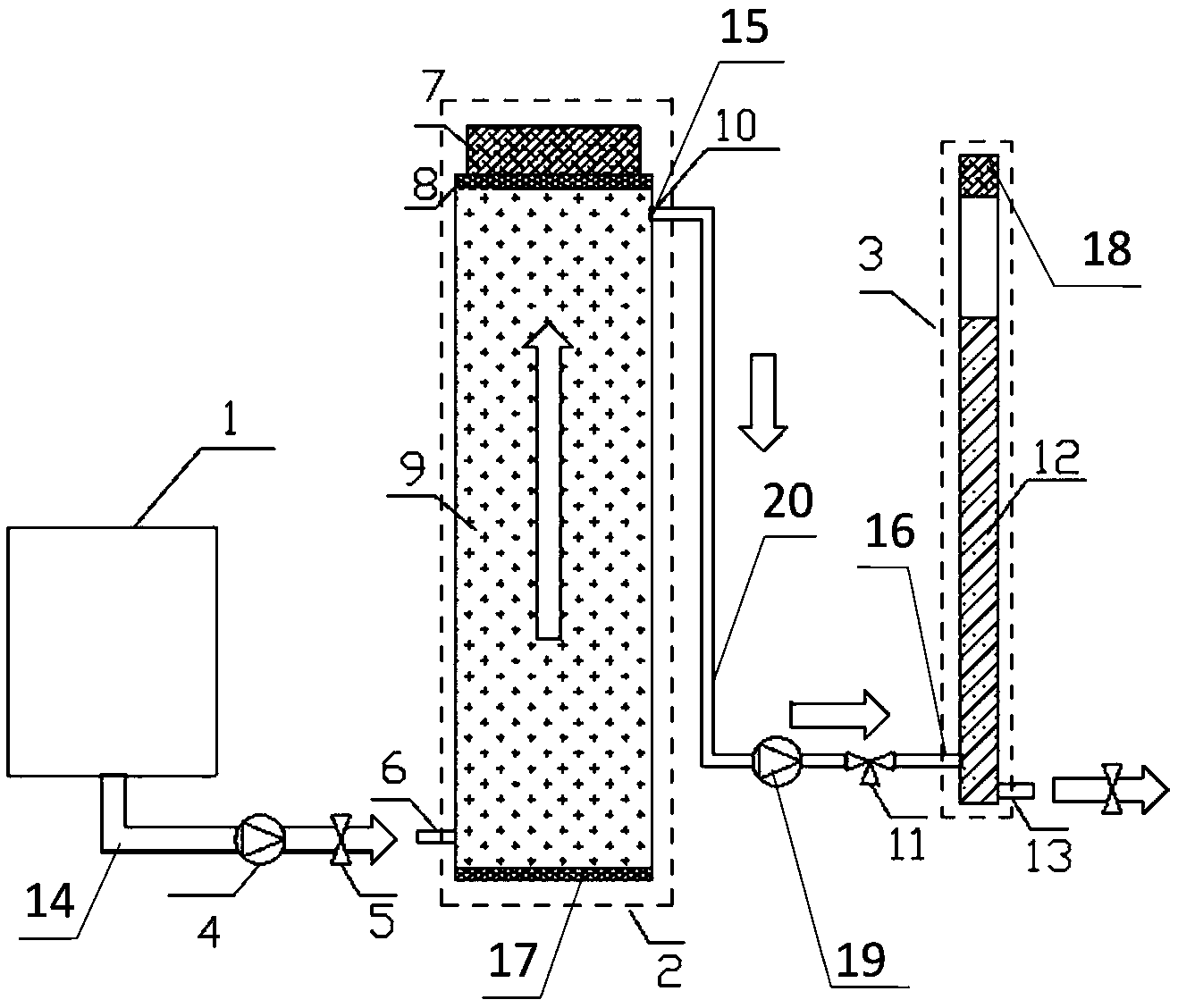
1.一种废水脱氮除磷的装置,其特征在于:包括依次连接的污水池(1)、反硝化柱(2)、和磷过滤柱(3),所述的反硝化柱(2)内填充有木屑(9),反硝化柱(2)的下部与污水池(1)的下部连通,所述的磷过滤柱(3)内填充有酸性矿井排水残渣(12),反硝化柱(2)的上部与磷过滤柱(3)的下部连通。
2.根据权利要求1所述的一种废水脱氮除磷的装置,其特征在于:所述的木屑(9)经网格过筛,控制粒径为4~8mm,再经过0.1~0.3mol/L的NaOH浸泡12~36h后,清水洗涤至中性,风干;所述木屑(9)的填充高度占反硝化柱(2)高度的90~95%,填充总孔隙度为68~78%。
3.根据权利要求1或2所述的一种废水脱氮除磷的装置,其特征在于:所述的反硝化柱(2)还包括上多孔隔板(8)、下多孔隔板(17)、粗海绵一(7)以及不锈钢滤网(10);所述的上多孔隔板(8)位于反硝化柱(2)的顶端,下多孔隔板(17)位于反硝化柱(2)的底端,二者结构相同,厚度为1~3cm,中间填充有木屑(9);所述的粗海绵一(7)置于上多孔隔板(8)上部,厚度为1~3cm;所述的不锈钢滤网(10)安装于反硝化柱(2)的出水口,孔径为20~25目。
4.根据权利要求1所述的一种废水脱氮除磷的装置,其特征在于:所述的酸性矿井排水残渣(12)粒径为0.6~4.0cm,含有Fe2O3以及CaCO3;所述酸性矿井排水残渣(12)填充高度占磷过滤柱(3)高度的80~85%,填充总孔隙度为60~80%。
5.根据权利要求1或4所述的一种废水脱氮除磷的装置,其特征在于:所述的磷过滤柱(3)还包括布水区以及粗海绵二(18),所述布水区位于酸性矿井排水残渣(12)上部;所述的粗海绵二(18)位于布水区上部,厚度为1~3cm。
6.根据权利要求1所述的一种废水脱氮除磷的装置,其特征在于:所述的反硝化柱(2)与污水池(1)之间通过进水管(14)连通,进水管(14)上设置进水蠕动泵(4)和阀门开关(5)。
7.根据权利要求1所述的一种废水 脱氮除磷的装置,其特征在于:所述的磷过滤柱(3)与反硝化柱(2)之间通过连通管(20)连接,连通管(20)上设有连通蠕动泵(19)和三通止回阀(11)。
8.一种废水脱氮除磷方法,其特征在于:包括以下步骤:
A.搭建如权利要求1-7中任一项所述的装置,并在水力停留时间为6~8h下对木屑(9)进行2~3次的淋洗;在实验前对酸性矿井排水残渣(12)进行冲刷去除细颗粒物;
B.打开进水蠕动泵(4),在进水蠕动泵(4)的蠕动作用下,污水池(1)中废水进入反硝化柱(2)中,按照设定的运行条件处理后,对污水厌氧反硝化;
C.反硝化结束后,打开连通蠕动泵(19)和三通止回阀(11),反硝化柱(2)中的水进入磷过滤柱(3),按照设定的运行条件处理后,处理水可从磷过滤柱(3)底部的出水口排出;
D.每1~3个月将0.2~0.5mol/L NaOH注入磷过滤柱(3)中,使酸性矿井排水残渣(12)得到再生。
9.根据权利要求8所述的废水脱氮除磷的方法,其特征在于:所述运行条件如下:
步骤B中,进水温度为15~20℃,进水硝态氮浓度范围在15~32mg L-1,溶解活性磷浓度范围在1~10mg L-1;水力停留时间范围为7.2~51h,环境空气温度为10.1~38.0℃;
步骤C中,水力停留时间范围为7.6~59min;
步骤D中,所述酸性矿井排水残渣(12)在系统中运行100~200天后需要进行更换。
具体优势如下:
①与传统木屑比较,本发明中的木屑的纤维素经过NaOH的润涨作用,能够引起分子的 晶格转化和消晶,去除释碳效果差的部分半纤维素和木质素,使释碳量更加均匀;
②一方面,木屑稳定均匀的提供碳源,作为电子供体,既维护了反硝化柱中异养反硝化 过程的稳定,又实现了后续的磷过滤柱中聚磷菌的生长;同时,木屑内因富含天然纤维素, 其粗糙的表面上更容易形成适应其微环境的生物膜,提高生物膜形成速度,利于异养反硝化 菌的增殖,并为其提供保护,有效的防止反硝化菌的流失。与此同时,吸附在载体上的微生 物因适应固相载体表面的微环境而产生出诱导酶,使经过润涨后的天然纤维素物质分解为生 物膜生长所需要的基质,可以作为反硝化菌的生物挂膜载体。
(3)本发明所提供的废水脱氮除磷的装置和方法,磷过滤柱填充有粒径为0.6~4.0cm的 酸性矿井排水残渣介质,残渣内主要含有Fe2O3、还原性硫化物以及Al、Mn和Ca离子;具 体优势如下:
①富含大量还原性硫化物,可以进行硫自养反硝化,发挥二次脱氮的作用;
②富含大量的Fe3+以及Ca2+离子,可以实现磷酸盐的沉淀作用以及形成Fe3+和Ca2+的氧 化物与氢氧化物胶体,通过表面配位吸附和吸附共沉淀作用进行化学除磷;
③木屑反硝化柱可以为其提供小分子碳源,促进反硝化聚磷菌生长的,实现生物除磷。
(4)现有技术中,通过酸释磷,但经酸再生后的基质对磷素的吸附率低于30%,明显低 于未再生基质的吸附率,难以回用;为了实现磷的有效释放以及除磷介质的再生,本发明所 提供的废水脱氮除磷的方法,定期将一定浓度的NaOH注入磷过滤柱,OH-离子浓度升高, 通过离子交换作用,与被束缚的磷酸盐阴离子产生竞争,促使磷的释放,同时,恢复矿渣对 磷酸根的吸附能力,经碱再生后的酸性矿井排水残渣对磷素的吸附能力有极大的提高。
(5)本发明装置中用多孔隔板补充多余的空间,可以压缩后填充至工作层,相对连续介 质材料而言,选用的材料一般具有相对密度低、比强度高、比表面积高、重量轻、隔热、渗 透性好等优点。同时,因为多孔隔板是惰性材料,表面光滑,微生物很难附着在其表面生长, 且它对水中的一些物质没有吸附、降解、释放等作用;硝化反应柱上部的上多孔隔板构可以 建高的缓冲层,以保证取样过程中有足够的水位淹没工作层,反应柱下部下多孔隔板作为承 托层,使得进水端均匀布水;海绵防止杂质微粒等进入。
(6)本发明所涉及的脱氮除磷装置结构简单,设计合理,易于制造,占地面积小;采用 的介质为木屑以及酸性矿井排水残渣,所选材料成本低廉、效果显著,所采用的介质木屑以 及酸性矿井排水残渣,具有生命周期长,可再生的优势;通过设定运行条件,可以最大限度 的发挥脱氮除磷的功效;并且尤其适合农业地砖排水和水产养殖废水,具有较大的市场前景 和推广应用价值。